아마존에서 준비중인 드론배송 특허 3가지
아마존에서 드론배송에 대한 다양한 특허를 계속적으로 신청을 하고 있습니다. 어떻게 보면 말도 안되게 병맛인 특허들도 많은데
그중에서 그래도 있으면 좋을것 같은 특허 3가지를 소개해 볼까 합니다.
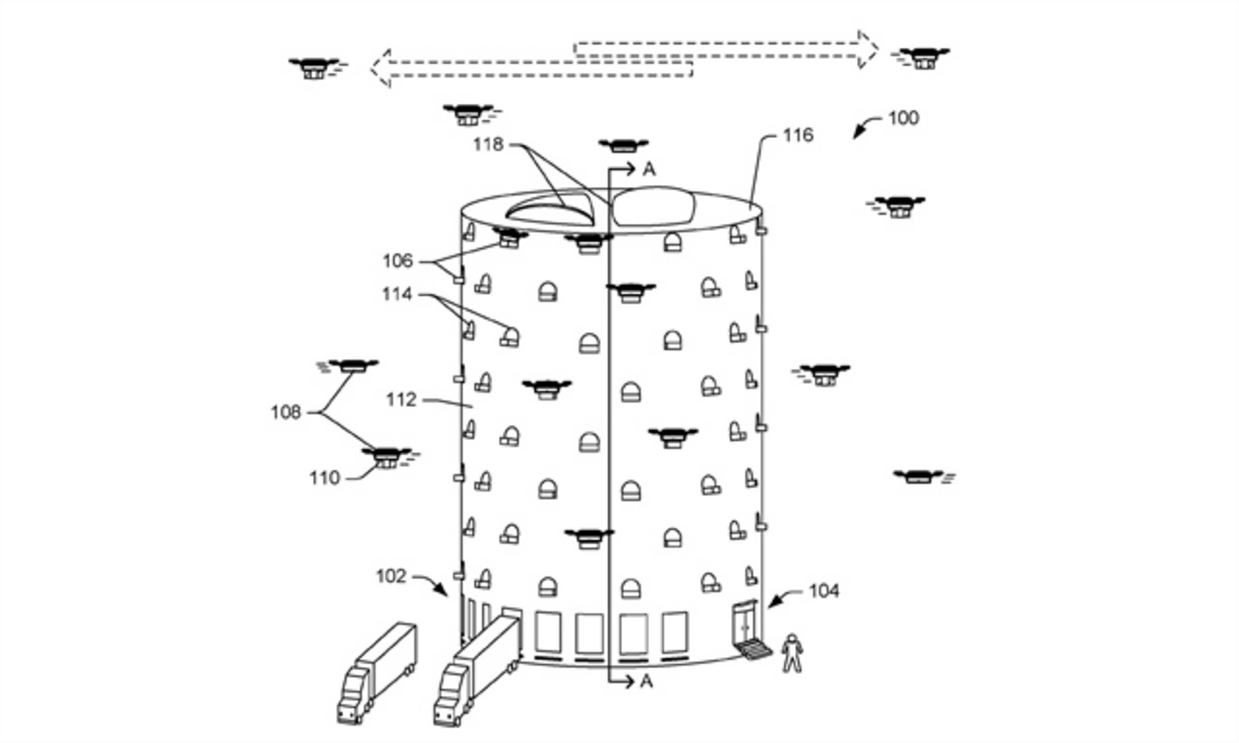
드론 배송 센터
벌집을 연상시키는 모양의 드론 배송센터에 대한 특허 입니다. 이것은 장거리 배송보다는 도심지의 단거리 배송에 특화된 것이라고 할 수 있습니다.
아직까지 드론의 고질적인 문제인 짧은 배터리 성능이나 고장 등 의 이유로 장거리 운항이 힘들기 때문에 그런것 같습니다.
대략적인 운영 방법은 배송차나 대용량 드론으로 배송할 물건을 배송센터의 타워에 적재를 하면 개개의 배송용 드론이 픽업을 해서 배송지에 배송을 해 주는 형태라고 합니다. 현재는 법적인 문제가 있다고 하는데 향후 법적인 문제가 해결될 경우 요긴할 수 있을것 같습니다.
하지만 택배를 업으로 하시는 기사님들은 일자리가 사라질 수도 있는 불안함이 있을 것 같습니다.

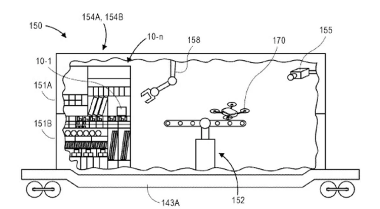
드론 수리 모바일 스테이션
드론의 특성 상 배터리의 잦은 충전이나 교체, 고장이 자주 일어날텐데요. 일일이 수거하여 센터로 가지고 와서 수리를 하고 다시 드론 배송 센터같은 곳으로 옮겨 일을 시키기에는 너무 낭비가 심한이유로 모바일 스테이션의 특허를 낸것 같습니다.
기차나 콘테이너, 선박, 트레일러, 밴 등에 드론을 관리하는 일련의 시스템을 갖추어 놓고 드론이 이착륙을 할 수 있는 장치와 로봇팔 등을 이용해서 배터리교제나 충전, 수리 등을 할 수 있게 되어 있다고 합니다.
모두 자동으로 처리를 한다고 하니 사람의 일자리는 늘어나지 않겠네요.

위의 이미지는 트레일러용 모바일 스테이션입니다.

위의 이미지는 선박용 모바일 스테이션입니다.
## 소리치거나, 손을흔들면 알아채는 배송드론
소리를 치거나 손을 흔드는 등의 행동을 알아채는 드론에 대한 특허입니다. 배송 목적지에서 사람이 한 손을 흔들거나 소리를 치는 경우 그 위치에 배송물을 내려 놓거나 두손을 흔들경우 배송을 멈추거나 하는 처리가 가능하게 되는 것입니다.
사람의 행동에 반응을 하기 때문에 좀 더 정확하고 안전한 배송이 가능할 것 같습니다.

그 외에도 비상시 드론을 자동 파괴하는 특허 나 화살공격이나 해킹에 대해 드론을 착륙시키는 특허 등 다소 바보같아 보이는 특허 들을 다양하게 냈는데요. 웬지 아마존이 한다고 하니 그럴듯해 보이기도 합니다. 나중에는 아마존에게 요긴한 먹거리가 될지, 아니면 그냥 없어질 특허가 될지는 시간이 지나봐야 알것 같습니다. 돈많은 아마존 입장에서는 아깝지 않은 시도인 것은 확실해 보입니다.