Stories.pe.kr
여행과 요리에 관한 이야기
Stories.pe.kr
여행과 요리에 관한 이야기

최신 갤럭시 S26을 통해 알아보는 스마트폰 카메라 기술의 핵심 원리. 복잡한 렌즈, 센서, 픽셀의 비밀을 중학생도 이해하는 쉬운 비유로 풀어 드립니다. 이제 당신도 전문가급 사진을 찍을 수 있습니다.

월급날, 명절만 되면 버벅이는 모바일 뱅킹 앱. 단순한 불편을 넘어 금융 마비까지 초래하는 접속 오류의 3가지 핵심 원인을 중학생도 이해하는 쉬운 비유로 파헤쳐 봅니다.

AI에게 원하는 답을 얻고 싶나요? 마치 셰프가 레시피를 따르듯, '프롬프트 엔지니어링'이라는 마법 같은 대화 기술로 인공지능을 내 생각에 꼭 맞는 똑똑한 비서로 만드는 방법을 알려드릴게요.

AI가 외부 세계와 소통하는 표준 방식, MCP를 소개합니다. 스마트폰 충전기가 USB-C로 통일된 것처럼, MCP는 AI가 최신 정보와 다양한 도구에 안전하게 연결되도록 돕는 만능 연결 포트입니다.

인공지능(AI)이 어려운가요? 마치 요리를 배우는 셰프처럼 데이터를 통해 스스로 학습하는 AI의 신기한 세계를 중학생도 이해할 수 있도록 비유로 풀어 설명해 드립니다.

0과 1만 아는 컴퓨터와 달리, 0이면서 동시에 1도 될 수 있는 양자컴퓨터! 이 신기한 컴퓨터의 원리와 우리 삶을 어떻게 바꿀지, 중학생도 이해하는 쉬운 비유로 완벽하게 알려드릴게요.

국내 시놀로지 NAS 총판인 에이블스토어에 판매하고 있는 IP카메라인 다후아(Dahua)가 시놀로지 NAS와 호환이 잘된다고 하여 구매를 하였습니다. 가정용으로 사용할 것이므로 DH-IPC-AW12W와 비슷한 DH-IPC-A35를 해외배송으로 구매를 했습니다. 잊어버릴것 같아 처음 IP카메라를 설치하고 초기세팅하는 것을 포스팅 합니다. === 첫 연결 로그인 카메라 방향설정 무선(WIFI) 연결하기 무선IP 설정하기 첫 연결 카메라를 설치하고 랜케이블(유선)을 연결합니다. 처음부터 무선이 연결되지 않으니 유선으로 […]

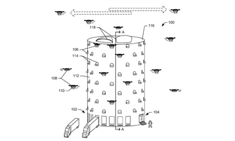
아마존에서 드론배송에 대한 다양한 특허를 계속적으로 신청을 하고 있습니다. 어떻게 보면 말도 안되게 병맛인 특허들도 많은데 그중에서 그래도 있으면 좋을것 같은 특허 3가지를 소개해 볼까 합니다. 드론 배송 센터 벌집을 연상시키는 모양의 드론 배송센터에 대한 특허 입니다. 이것은 장거리 배송보다는 도심지의 단거리 배송에 특화된 것이라고 할 수 있습니다. 아직까지 드론의 고질적인 문제인 짧은 배터리 성능이나 […]

개발을 하다보면 임의로 hosts파일을 변경해야 하는 경우가 있습니다. 이럴경우 Windows 7 버전 이하는 관리자 권환으로 쉽게 수정이 가능한데 windows10버전에서는 관리자권한으로 작업을 한다고 해도 쉽게 수정이 되지 않습니다. 더욱이나 64비트인경우는 그냥 수정이 되지 않습니다. === 이럴경우 아래와 같이 수정하시면 수정이 가능합니다. 안전모드 부팅 hosts파일을 관리자권한으로 수정 재부팅 완료 그럼 좀더 자세히 작성을 해보도록 하겠습니다. 안전모드 부팅 […]

비트코인때문에 죄없는 선량한 게이머들이 고생을 합니다. 그래픽카드 가격이 천정부지로 상승해 버려서 웬만한 게이밍 조립PC를 만들려면 100만원대를 훌쩍 넘어 버리게 되었습니다.이제 메이커 PC나 조립PC나 가격차이가 별로 나지 않아서 차라리 메이커PC가 더 저렴한 경우도 있습니다. 저도 예전부터 조립PC를 선호했었는데.. 이번에는 메이커PC를 구매하게 되었습니다. 조립PC를 만들어보신 분들은 아시겠지만 적절한 부품으로 조립한다고해도 궁합이 잘 맞지 않는경우 시스템이 다운되는 등 […]